Будьте всегда в курсе!
Узнавайте о скидках и акциях первым
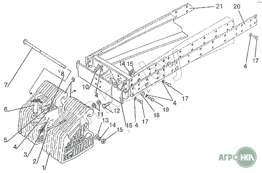
| Позиция на иллюстрации | Заводской номер детали | Название детали | Цена | |||||
|---|---|---|---|---|---|---|---|---|
| 1 | 80-4235011-А | Груз | Нет на складе | |||||
| 2 | 1025-4235012 | Болт | Нет на складе | |||||
| 3 | 85-4235025-Б | Проушина | Нет на складе | |||||
| 4 | Шайба 16.ОТ | Шайба | Нет на складе | |||||
| 5 | Болт М16-6дх45.88.35.019 | Болт | Нет на складе | |||||
| 6 | 70-4235030 | Шкворень | Нет на складе | |||||
| 7 | 1025-4235015-01 | Струна | Нет на складе | |||||
| 8 | Шайба С.16.01.019 | Шайба | Нет на складе | |||||
| 9 | 1521-4235011-А | Груз | 582,54 руб. | |||||
|
||||||||
| 10 | Болт М16-6дх40.88.35.019 | Болт | Нет на складе | |||||
| 11 | Гайка М18-6Н.6.019 | Гайка | Нет на складе | |||||
| 12 | 70-4605036 | Болт | Нет на складе | |||||
| 13 | 40-3502084 | Шайба | Нет на складе | |||||
| 14 | Шайба 20.ОТ | Шайба | Нет на складе | |||||
| 15 | Гайка М20-6Н.6.019 | Гайка | Нет на складе | |||||
| 16 | 1521-4235020 | Кронштейн | 305,24 руб. | |||||
|
||||||||
| 17 | Болт М16-6дх50.88.35.019 | Болт | Нет на складе | |||||
| 18 | 1521-4535029 | Втулка | Нет на складе | |||||
| 19 | Болт М16-6дх60.88.35.019 | Болт | Нет на складе | |||||
| 20 | 1222-4235012 | Пластина левая | Нет на складе | |||||
| 21 | 1222-4235013 | Пластина правая | Нет на складе | |||||