Будьте всегда в курсе!
Узнавайте о скидках и акциях первым
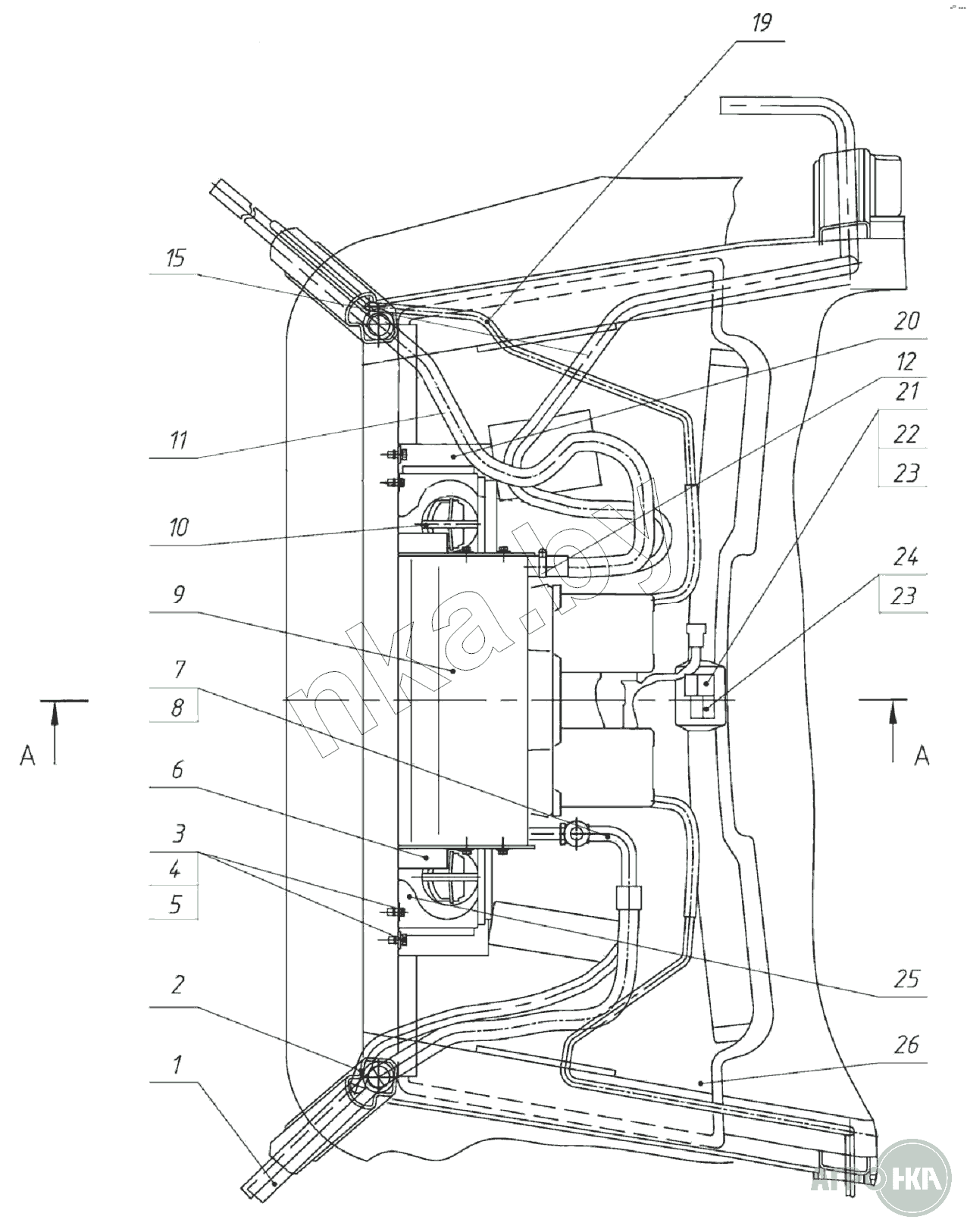
| Позиция на иллюстрации | Заводской номер детали | Название детали | Цена | |
|---|---|---|---|---|
| 1 | 90010GN | Шланг N10 | Нет на складе | |
| 2 | 90006GN | Шланг № 6 90006GN | Нет на складе | |
| 3 | БолтМ8-6gх25.88.35.019 | Болт | Нет на складе | |
| 4 | ШайбаС6.01.019 | Шайба | Нет на складе | |
| 5 | Шайба6Т | Шайба | Нет на складе | |
| 6 | 3022-8101020 | Кронштейн | Нет на складе | |
| 7 | 70110FG027 | Фитинг | Нет на складе | |
| 8 | 70106FG014 | Фитинг | Нет на складе | |
| 9 | U003CF041Е | Климатический блок | Нет на складе | |
| 10 | 1522-8104100 | Дефлектор | Нет на складе | |
| 11 | 2822ДЦ-8100014 | Шланг | Нет на складе | |
| 12 | Хомут20-32/9-C6W | Хомут с червячной резьбой 20-32/9-C6W | Нет на складе | |
| 15 | 2822ДЦ-8100014-01 | Шланг | Нет на складе | |
| 19 | 3022-8101012 | Трубка | Нет на складе | |
| 20 | 3022-8101020-01 | Кронштейн | Нет на складе | |
| 21 | 0682164 | Выключатель вентилятора | Нет на складе | |
| 22 | 067060/1 | Табличка темп./скорость | Нет на складе | |
| 23 | 068407/0 | Ручка элемента управления | Нет на складе | |
| 24 | 068011/1 | Термостат | Нет на складе | |
| 25 | 3022-8101017 | Стенка | Нет на складе | |
| 26 | 1522-8101110-Б | Стенка | Нет на складе | |
| 26 | 1522П-8101110 | Панель | Нет на складе | |
| 26 | ОТ1522-8101110 | Панель | Нет на складе |