Будьте всегда в курсе!
Узнавайте о скидках и акциях первым
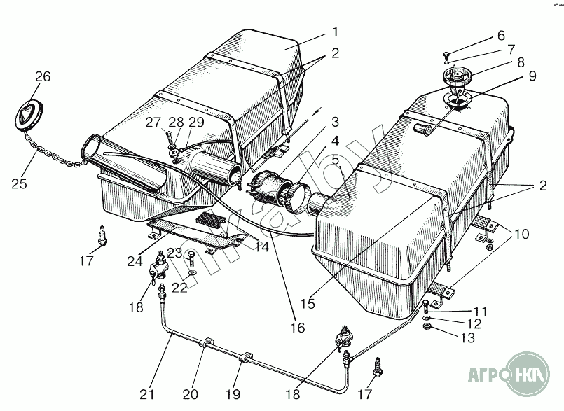
| Позиция на иллюстрации | Заводской номер детали | Название детали | Цена | |||||||||
|---|---|---|---|---|---|---|---|---|---|---|---|---|
| 70-1101005 | 70-1101005 | Баки | Нет на складе | |||||||||
| 1 | 70-1101020 | Бак | Нет на складе | |||||||||
| 2 | 70-1101070 | Хомут | Нет на складе | |||||||||
| 3 | 70-1101035-Б | Рукав | 2,96 руб. - 21,83 руб. | |||||||||
|
||||||||||||
| 4 | xС-66 | Хомут | Нет на складе | |||||||||
| 5 | 70-1101010 | Бак | Нет на складе | |||||||||
| 5а | 80-1101010 | Бак правый | Нет на складе | |||||||||
| 6 | ВМ5x10 | Винт | Нет на складе | |||||||||
| 7 | 80-1101067 | Шайба | Нет на складе | |||||||||
| 8 | АР70.3827 | Бензомер | Нет на складе | |||||||||
| 8 | ДУМП-19 | Бензомер | 23,46 руб. | |||||||||
|
||||||||||||
| 9 | 200-3806026 | Прокладка | Нет на складе | |||||||||
| 10 | 80-1101250-Б | Кронштейн правый | Нет на складе | |||||||||
| 11 | М10x25 | Болт | Нет на складе | |||||||||
| 12 | ШП10 | Шайба | Нет на складе | |||||||||
| 13 | М10 | Гайка | Нет на складе | |||||||||
| 14 | 80-1101012-Б | Прокладка | Нет на складе | |||||||||
| 15 | ПР-36-01 | Прокладка | Нет на складе | |||||||||
| 16 | 85-1101002-02 | Трубка | Нет на складе | |||||||||
| 17 | 50-1101081-Б | Штуцер | Нет на складе | |||||||||
| 11,113-100 | 11,113-100 | Шарик | Нет на складе | |||||||||
| 18 | КР-25 | Кран | Нет на складе | |||||||||
| 19 | 70-1101042 | Скоба | Нет на складе | |||||||||
| 20 | 50-1111102-01 | Прокладка | Нет на складе | |||||||||
| 21 | 70-1101345-Б1 | Трубопровод | 6,24 руб. | |||||||||
|
||||||||||||
| 22 | ШП12 | Шайба | Нет на складе | |||||||||
| 23 | М12x30 | Болт | Нет на складе | |||||||||
| 24 | 80-1101280-Б | Кронштейн левый | 42,55 руб. | |||||||||
|
||||||||||||
| 25 | 36-1101070 | Цепочка | Нет на складе | |||||||||
| 26 | 082-1103010 | Пробка | 1,80 руб. | |||||||||
|
||||||||||||
| 27 | 36-1104787 | Болт | 0,31 руб. - 1,52 руб. | |||||||||
|
||||||||||||
| 28 | 36-1104788 | Прокладка | Нет на складе | |||||||||
| 29 | 70-1104180 | Трубка | 16,98 руб. | |||||||||
|
||||||||||||