Будьте всегда в курсе!
Узнавайте о скидках и акциях первым
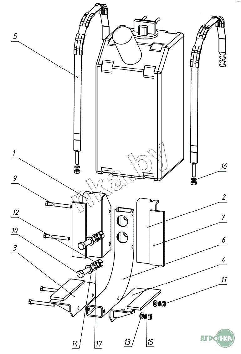
| Позиция на иллюстрации | Заводской номер детали | Название детали | Цена | |
|---|---|---|---|---|
| 2022.5А-1201000 | 2022.5А-1201000 | Установка бака | Нет на складе | |
| 1 | 2022.5А-1201010 | Опора | Нет на складе | |
| 2 | 2022.5А-1201010-01 | Опора | Нет на складе | |
| 3 | 2022.5А-1201020 | Кронштейн | Нет на складе | |
| 4 | 2022.5А-1201020-01 | Кронштейн | Нет на складе | |
| 5 | 2022.5А-1101070 | Хомут | Нет на складе | |
| 6 | 2022.5А-1101136 | Труба | Нет на складе | |
| 7 | 1522-1101118 | Прокладка | Нет на складе | |
| 9 | БолтM10-6gх85.88.35.019 | Болт | Нет на складе | |
| 10 | БолтM16-6gх50.88.35.019 | Болт | Нет на складе | |
| 11 | ГайкаМ10-6Н.6.019 | Гайка | Нет на складе | |
| 12 | ГайкаМ16-6Н.6.019 | Гайка | Нет на складе | |
| 13 | ШайбаС10.01.019 | Шайба С10.01.019 | Нет на складе | |
| 14 | ШайбаС16.01.019 | Шайба С 16.01.019 | Нет на складе | |
| 15 | Шайба10.ОТ | Шайба | Нет на складе | |
| 16 | Шайба10Л | Шайба | Нет на складе | |
| 17 | Шайба16.ОТ | Шайба | Нет на складе |