Будьте всегда в курсе!
Узнавайте о скидках и акциях первым
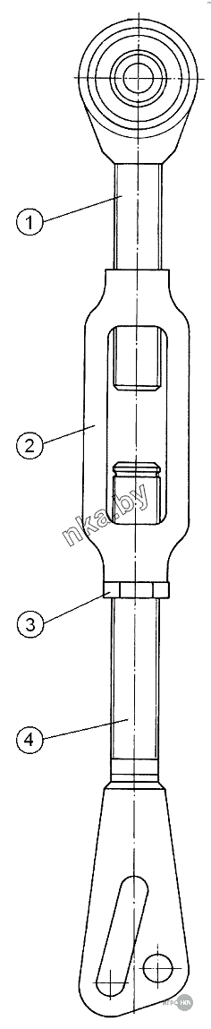
| Позиция на иллюстрации | Заводской номер детали | Название детали | Цена | |||||
|---|---|---|---|---|---|---|---|---|
| 1220-4606150 | 1220-4606150 | Раскос | Нет на складе | |||||
| 1 | 1220-4606160 | Винт | Нет на складе | |||||
| 2 | А61.02.001 | Стяжка раскоса | Нет на складе | |||||
| 3 | А61.02.003 | Контргайка | 2,27 руб. | |||||
|
||||||||
| 4 | 70-4605100 | Вилка | Нет на складе | |||||