Будьте всегда в курсе!
Узнавайте о скидках и акциях первым
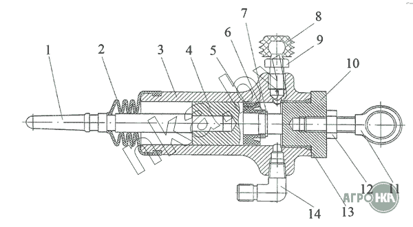
| Позиция на иллюстрации | Заводской номер детали | Название детали | Цена | |||||
|---|---|---|---|---|---|---|---|---|
| 1523-1602550 | 1523-1602550 | Цилиндр рабочий | 173,06 руб. | |||||
|
||||||||
| 1 | 80В-1602557 | Шток | Нет на складе | |||||
| 2 | 142-1602569 | Чехол | Нет на складе | |||||
| 3 | 1221В-1602551 | Корпус | Нет на складе | |||||
| 4 | 1221В-1602556 | Поршень | Нет на складе | |||||
| 5 | N14-102 (14x28x10) | Манжета N14-102 (14x28x10) | Нет на складе | |||||
| 6 | 1221В-1602517-Б | Втулка распорная | Нет на складе | |||||
| 7 | С13 | Кольцо | Нет на складе | |||||
| 8 | 142-1602377 | Колпачок | Нет на складе | |||||
| 9 | 142-1602371 | Клапан перепускной | Нет на складе | |||||
| 10 | 1221В-1602561 | Крышка | Нет на складе | |||||
| 11 | 1523-1602566 | Опора | Нет на складе | |||||
| 12 | М10-6Н.6.019 | Гайка | Нет на складе | |||||
| 13 | 027-031 -25-2-6 | Кольцо | Нет на складе | |||||
| 14 | 822-3503037 | Угольник ввертной | Нет на складе | |||||