Будьте всегда в курсе!
Узнавайте о скидках и акциях первым
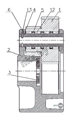
| Позиция на иллюстрации | Заводской номер детали | Название детали | Цена | |||||
|---|---|---|---|---|---|---|---|---|
| 2522-2407535 | 2522-2407535 | Водило | 6 242,05 руб. | |||||
|
||||||||
| 1 | 2522-2405035 | Сателлит | 1 835,47 руб. | |||||
|
||||||||
| 2 | 2522-2407536-A1 | Водило | Нет на складе | |||||
| 3 | 2522-2407537 | Шайба | Нет на складе | |||||
| 4 | 2522-2407538 | Шайба сателлита | Нет на складе | |||||
| 5 | 2522-2407539 | Шайба распорная | 53,78 руб. | |||||
|
||||||||
| 6 | 2522-2407556 | Ось сателлита | Нет на складе | |||||
| 12 | 10x30II | Ролик | Нет на складе | |||||
| 13 | А8х4065Г | Штифт | Нет на складе | |||||