Будьте всегда в курсе!
Узнавайте о скидках и акциях первым
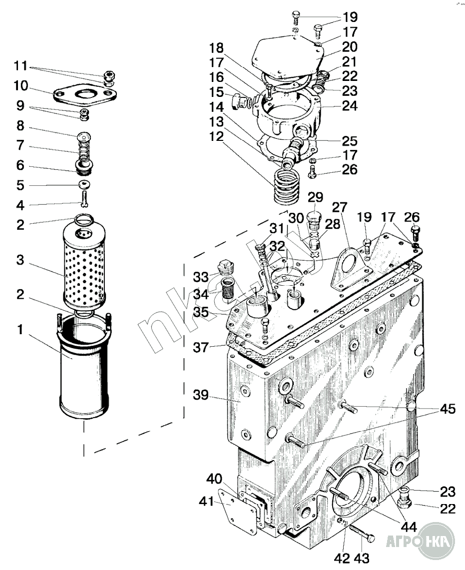
| Позиция на иллюстрации | Заводской номер детали | Название детали | Цена | |||||
|---|---|---|---|---|---|---|---|---|
| 80-4608010-Б | 80-4608010-Б | Корпус в сборе | Нет на складе | |||||
| 1 | А28.04.20.000-А1 | Корпус | Нет на складе | |||||
| 2 | 042-050-46-2-4 | Кольцо | Нет на складе | |||||
| 3 | 4600.30 | Элемент фильтрующий | Нет на складе | |||||
| 4 | В.М6-6gх40.58.019 | Винт | Нет на складе | |||||
| 5 | А28.04.10.000 | Клапан 8.20.004 в сборе | Нет на складе | |||||
| 5 | 8.20.004 | Клапан | Нет на складе | |||||
| 6 | А28.04.10.001 | Корпус | Нет на складе | |||||
| 7 | 8.20.002 | Пружина | Нет на складе | |||||
| 8 | 8.20.005 | Шайба опорная | Нет на складе | |||||
| 9 | М6-6Н.6.019 | Гайка | Нет на складе | |||||
| 10 | A28.04.00.001 | Ограничитель | Нет на складе | |||||
| 11 | М6-6Н.6.019 | Гайка | Нет на складе | |||||
| 12 | 85-4608057 | Пружина | Нет на складе | |||||
| 13 | 85-4607034 | Штуцер | Нет на складе | |||||
| 14 | 85-4608089 | Прокладка | Нет на складе | |||||
| 15 | 85-4608021 | Пробка | Нет на складе | |||||
| 16 | 4600.22 | Шайба РМ24 | Нет на складе | |||||
| 17 | 8Т | Шайба | Нет на складе | |||||
| 18 | М8-6gх30.88.35.019 | Болт | Нет на складе | |||||
| 19 | М8-6gх25.88.35.019 | Болт | Нет на складе | |||||
| 20 | 85-4608022 | Крышка | 21,80 руб. | |||||
|
||||||||
| 21 | 130-135-30-1-4 | Кольцо | Нет на складе | |||||
| 22 | 50-4608027-В | Пробка | Нет на складе | |||||
| 23 | 017-022-30-2-2 | Кольцо | Нет на складе | |||||
| 24 | 85-4608018 | Стакан | Нет на складе | |||||
| 25 | 027-032-30-1-4 | Кольцо | Нет на складе | |||||
| 26 | М8-6gх20.88.35.019 | Болт | Нет на складе | |||||
| 27 | 80-4608073 | Кронштейн | Нет на складе | |||||
| 28 | 50-4608063 | Фильтр | Нет на складе | |||||
| 29 | 50-4608059 | Пробка сапуна | Нет на складе | |||||
| 30 | 50-4608062 | Шайба сапуна | Нет на складе | |||||
| 31 | 70-4608065А | Масломер | Нет на складе | |||||
| 32 | 011-015-25-2-4 | Кольцо | Нет на складе | |||||
| 33 | ПККГ11/4 | Пробка | Нет на складе | |||||
| 34 | А61-С06-АЗ | Фильтр | Нет на складе | |||||
| 35 | 85-4608025 | Крышка | Нет на складе | |||||
| 37 | 80-4608031 | Прокладка | Нет на складе | |||||
| 39 | 80-4608016 | Корпус гидросистемы | Нет на складе | |||||
| 40 | 70-4608033 | Прокладка | Нет на складе | |||||
| 41 | 80-4608019-01 | Крышка | Нет на складе | |||||
| 42 | 10.ОТ | Шайба | Нет на складе | |||||
| 43 | М10-6gх40.88.35.019 | Болт | Нет на складе | |||||
| 44 | М103р/6gх35.66.019 | Шпилька | Нет на складе | |||||
| 45 | М103р/6gх20.66.019 | Шпилька | Нет на складе | |||||