Будьте всегда в курсе!
Узнавайте о скидках и акциях первым
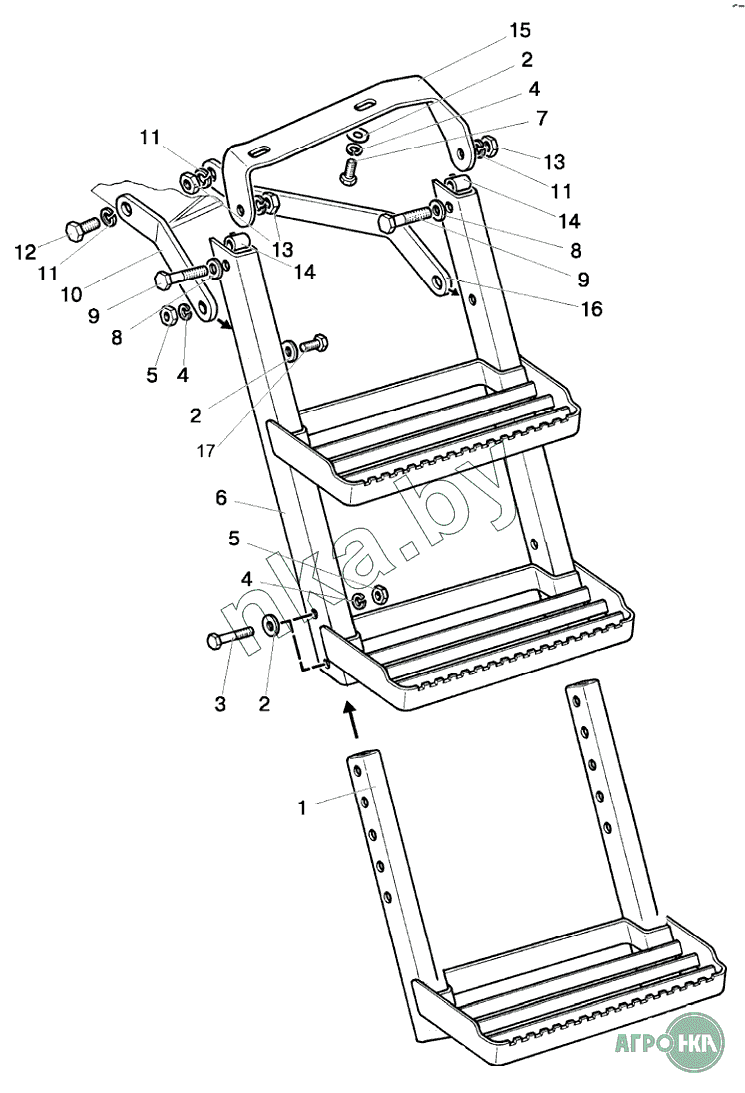
| Позиция на иллюстрации | Заводской номер детали | Название детали | Цена | |||||
|---|---|---|---|---|---|---|---|---|
| 80-8405005-Б-01 | 80-8405005-Б-01 | Подножка правая | Нет на складе | |||||
| 80-8405005-Б | 80-8405005-Б | Подножка левая | Нет на складе | |||||
| 1 | 80-8405020-А2 | Подножка | 77 руб. | |||||
|
||||||||
| 2 | С10.01.019 | Шайба | Нет на складе | |||||
| 3 | М10-6gх50.88.35.019 | Болт ГОСТ 7795-70 | Нет на складе | |||||
| 4 | 10.ОТ | Шайба | Нет на складе | |||||
| 5 | М10-6Н.6.019 | Гайка | Нет на складе | |||||
| 6 | 80-8405010-А3 | Подножка | 130 руб. | |||||
|
||||||||
| 7 | М10-6gх25.88.35.019 | Болт | Нет на складе | |||||
| 8 | С12.01.019 | Шайба | Нет на складе | |||||
| 9 | М12-6gх65.88.35.019 | Болт | Нет на складе | |||||
| 10 | 80-8405031-Б | Кронштейн | 14,63 руб. | |||||
|
||||||||
| 11 | 12.ОТ | Шайба | Нет на складе | |||||
| 12 | М12-6gх35.88.35.019 | Болт | Нет на складе | |||||
| 13 | М12-6Н.6.019 | Гайка | Нет на складе | |||||
| 14 | 923-6700111 | Втулка | Нет на складе | |||||
| 15 | 80-8405030-Б | Кронштейн | Нет на складе | |||||
| 15 | 80-8405030-Б-01 | Кронштейн (к правой подножке) | Нет на складе | |||||
| 16 | 80-8405032-Б | Кронштейн | 30,10 руб. | |||||
|
||||||||
| 17 | М10-6gх30.88.35.019 | Болт ГОСТ 7796-70 | Нет на складе | |||||