Будьте всегда в курсе!
Узнавайте о скидках и акциях первым
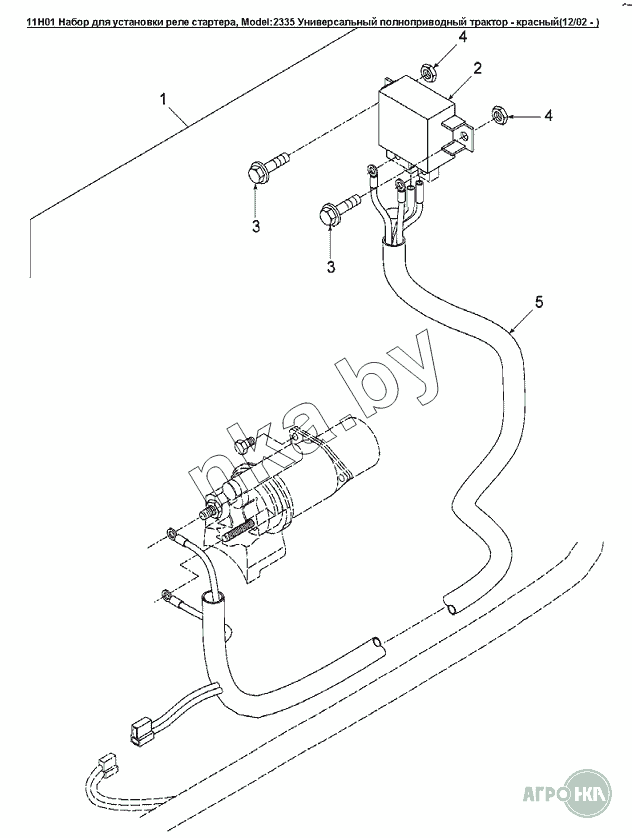
| Позиция на иллюстрации | Заводской номер детали | Название детали | Цена | |
|---|---|---|---|---|
| 1 | 86019206 | Комплект деталей стартера | Нет на складе | |
| 2 | 9843767 | Реле пуска 75 А | Нет на складе | |
| 3 | 86511953 | Болт шестигранный FLG USR M 6 X 25 PL | Нет на складе | |
| 4 | 86012004 | Гайка М6 | Нет на складе | |
| 5 | 86018157 | Жгут реле стартера | Нет на складе |