Будьте всегда в курсе!
Узнавайте о скидках и акциях первым
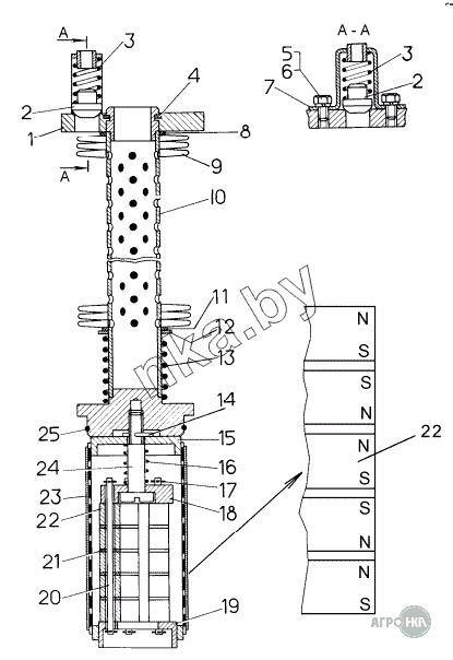
| Позиция на иллюстрации | Заводской номер детали | Название детали | Цена | |
|---|---|---|---|---|
| 64-14-129СП | 64-14-129СП | Фильтр | Нет на складе | |
| 1 | 64-14-77 | Крышка | Нет на складе | |
| 2 | 62-14-79 | Клапан | Нет на складе | |
| 3 | 38327 | Пружина | Нет на складе | |
| 4 | 700-42-2320 | Кольцо упорное | Нет на складе | |
| 5 | БолтМ8-6gx12.88.35.019 | Болт М8-6gx12.88.35.019 | Нет на складе | |
| 6 | Шайба8Т.65Г.09 | Шайба 8Т.65Г.09 | Нет на складе | |
| 7 | 62-14-143СП | Планка | Нет на складе | |
| 8 | 700-40-6517 | Прокладка | Нет на складе | |
| 9 | 18-26-161СП | Элемент фильтрующий | Нет на складе | |
| 10 | 64-14-190СП | Труба | Нет на складе | |
| 11 | 401063 | Кольцо | Нет на складе | |
| 12 | 700-31-2042 | Шайба | Нет на складе | |
| 13 | 700-38-2112 | Пружина | Нет на складе | |
| 14 | Шплинт1,6x16 | Шплинт 1,6x16 | Нет на складе | |
| 15 | 64-14-131СП | Фильтр магнитный | Нет на складе | |
| 16 | 38319 | Пружина | Нет на складе | |
| 17 | Шплинт3,2x32 | Шплинт 3,2x32 | Нет на складе | |
| 18 | 64-14-85 | Втулка | Нет на складе | |
| 19 | 64-14-86 | Втулка | Нет на складе | |
| 20 | 64-14-88 | Стержень | Нет на складе | |
| 21 | 31436 | Шайба | Нет на складе | |
| 22 | 64-14-89 | Магнит | Нет на складе | |
| 23 | 64-14-132СП | Заборник | Нет на складе | |
| 24 | 64-14-87 | Стяжка | Нет на складе | |
| 25 | 700-40-3123 | Кольцо | Нет на складе |