Будьте всегда в курсе!
Узнавайте о скидках и акциях первым
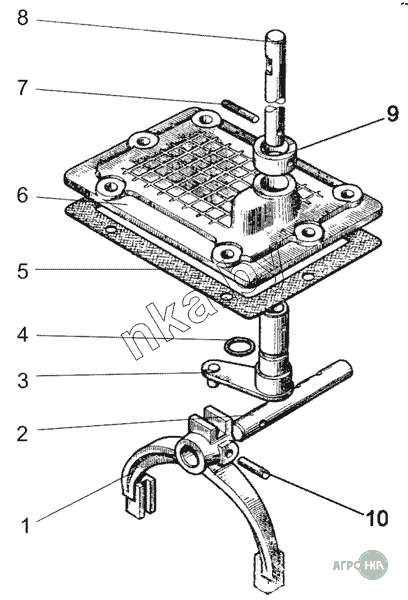
| Позиция на иллюстрации | Заводской номер детали | Название детали | Цена | |||||
|---|---|---|---|---|---|---|---|---|
| 74-1723030 | 74-1723030 | Крышка редуктора | 106,66 руб. | |||||
|
||||||||
| 1 | 74-1723020-Б | Вилка в сборе | Нет на складе | |||||
| 1 | 74-1723043 | Вилка | Нет на складе | |||||
| 2 | 74-1723044 | Вал | Нет на складе | |||||
| 3 | 74-1723140 | Рычаг | 30,24 руб. | |||||
|
||||||||
| 4 | 025-030-30-2-2 | Кольцо | Нет на складе | |||||
| 5 | 50-1601347 | Прокладка | Нет на складе | |||||
| 6 | 70-1723015 | Крышка | 44,26 руб. | |||||
|
||||||||
| 7 | 70-1723012 | Штифт 6х36.88.016 | 1,81 руб. | |||||
|
||||||||
| 8 | 70-1723024 | Стержень | 13,78 руб. | |||||
|
||||||||
| 9 | 70-1723032 | Втулка | 6,73 руб. | |||||
|
||||||||
| 10 | 80-6708621-01 | Штифт | Нет на складе | |||||