Будьте всегда в курсе!
Узнавайте о скидках и акциях первым
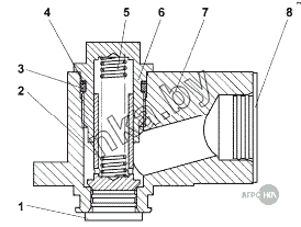
| Позиция на иллюстрации | Заводской номер детали | Название детали | Цена | |
|---|---|---|---|---|
| 2701-26-74СП(SP) | 2701-26-74СП(SP) | Клапан | Нет на складе | |
| 2701-26-74-20СП(SP) | 2701-26-74-20СП(SP) | Клапан | Нет на складе | |
| 1 | 7879-4212-01 | Заглушка | Нет на складе | |
| 2 | 3501-26-158 | Клапан | Нет на складе | |
| 3 | 042-050-46-2-51-1668 | Кольцо ГОСТ 18829-73/ТУ 38.005.204-84 | Нет на складе | |
| 4 | 44 0005 | Шайба защитная | Нет на складе | |
| 5 | 38 5221 | Пружина | Нет на складе | |
| 6 | 2701-26-234 | Направляющая клапана | Нет на складе | |
| 6 | 2701-26-234-20 | Направляющая клапана | Нет на складе | |
| 7 | 2701-26-233 | Корпус | Нет на складе | |
| 8 | 44 0064 | Заглушка | Нет на складе |