Будьте всегда в курсе!
Узнавайте о скидках и акциях первым
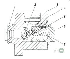
| Позиция на иллюстрации | Заводской номер детали | Название детали | Цена | |
|---|---|---|---|---|
| 2602-28-93СП(SP) | 2602-28-93СП(SP) | Клапан | Нет на складе | |
| 2602-28-93-20СП(SP) | 2602-28-93-20СП(SP) | Клапан | Нет на складе | |
| 1 | 7879-4201-03 | Пробка | Нет на складе | |
| 2 | 3501-26-152 | Клапан | Нет на складе | |
| 3 | 3501-26-242 | Заглушка | Нет на складе | |
| 4 | 2602-28-59 | Корпус | Нет на складе | |
| 5 | 032-038-36-2-51-1668 | Кольцо ГОСТ 18829-73/ТУ 38.005.204-84 | Нет на складе | |
| 6 | 3501-26-151 | Направляющая клапана | Нет на складе | |
| 6 | 3501-26-151-20 | Направляющая клапана | Нет на складе | |
| 7 | 38 5055 | Пружина | Нет на складе |