Будьте всегда в курсе!
Узнавайте о скидках и акциях первым
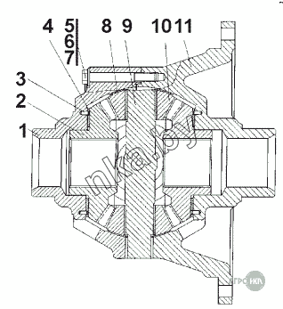
| Позиция на иллюстрации | Заводской номер детали | Название детали | Цена | |
|---|---|---|---|---|
| 2601-17-100СП(SP) | 2601-17-100СП(SP) | Дифференциал | Нет на складе | |
| 2601-17-100-20СП(SP) | 2601-17-100-20СП(SP) | Дифференциал | Нет на складе | |
| 1 | 2601-17-2 | Корпус | Нет на складе | |
| 1 | 2601-17-2-20 | Корпус | Нет на складе | |
| 2 | 2601-17-4 | Шестерня | Нет на складе | |
| 3 | 325210 | Штифт | Нет на складе | |
| 4 | 2601-17-6 | Шайба | Нет на складе | |
| 5 | 280576 | Болт | Нет на складе | |
| 6 | 315271 | Шайба | Нет на складе | |
| 7 | ГОСТ3282-74 | Проволока | Нет на складе | |
| 8 | 2601-17-7 | Шайба | Нет на складе | |
| 9 | 2601-17-5 | Крестовина | Нет на складе | |
| 10 | 2601-17-103СП(SP) | Сателлит | Нет на складе | |
| 11 | 2601-17-1 | Корпус | Нет на складе | |
| 11 | 2601-17-1-20 | Корпус | Нет на складе |