Будьте всегда в курсе!
Узнавайте о скидках и акциях первым
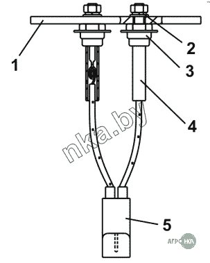
| Позиция на иллюстрации | Заводской номер детали | Название детали | Цена | |
|---|---|---|---|---|
| 2702-10-185СП(SP) | 2702-10-185СП(SP) | Панель диодов | Нет на складе | |
| 2702-10-185-20СП(SP) | 2702-10-185-20СП(SP) | Панель диодов | Нет на складе | |
| 1 | 2702-10-36 | Панель | Нет на складе | |
| 2 | 2702-10-36-20 | Панель | Нет на складе | |
| 2 | ГОСТ6402-70 | Шайба | Нет на складе | |
| 3 | 6341103951 | Диод | Нет на складе | |
| 4 | 2702-10-131-56СП(SP) | Провод | Нет на складе | |
| 4 | 2702-10-131-56-20СП-20SP | Провод | Нет на складе | |
| 5 | 4,57374E+11 | Колодка штыревая 502602 | Нет на складе |