Будьте всегда в курсе!
Узнавайте о скидках и акциях первым
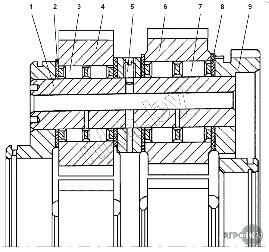
| Позиция на иллюстрации | Заводской номер детали | Название детали | Цена | |
|---|---|---|---|---|
| 2601-12-23СП(SP) | 2601-12-23СП(SP) | Водило | Нет на складе | |
| 2601-12-23-20СП(SP) | 2601-12-23-20СП(SP) | Водило | Нет на складе | |
| 1 | 2501-12-189 | Ось | Нет на складе | |
| 2 | 2501-12-160 | Кольцо упорное (476719267303) | Нет на складе | |
| 3 | 6-252908Д | Подшипник | Нет на складе | |
| 4 | 2601-12-66 | Сателлит | Нет на складе | |
| 5 | 2001-12-111СП(SP) | Штифт | Нет на складе | |
| 6 | 2601-12-65 | Сателлит | Нет на складе | |
| 7 | 252808Д | Подшипник | Нет на складе | |
| 8 | 2501-12-160-01 | Кольцо упорное | Нет на складе | |
| 9 | 2601-12-64 | Водило | Нет на складе |