Будьте всегда в курсе!
Узнавайте о скидках и акциях первым
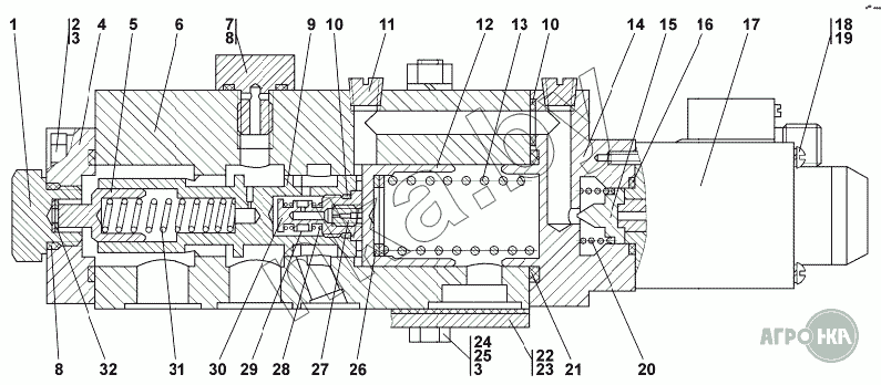
| Позиция на иллюстрации | Заводской номер детали | Название детали | Цена | |
|---|---|---|---|---|
| 1101-15-27-20СП(SP) | 1101-15-27-20СП(SP) | Клапан-модулятор | Нет на складе | |
| 1101-15-27СП(SP) | 1101-15-27СП(SP) | Клапан-модулятор | Нет на складе | |
| 1 | 37 5625-01-20 | Пробка | Нет на складе | |
| 1 | 37 5625-01 | Пробка | Нет на складе | |
| 2 | Болт М8-6gx30 | Болт М8-6gx30 | Нет на складе | |
| 3 | Шайба 8Т | Шайба 8Т | Нет на складе | |
| 4 | 0602-15-95К | Крышка | Нет на складе | |
| 5 | 0602-15-84К | Поршень | Нет на складе | |
| 6 | 0602-15-82К | Корпус | Нет на складе | |
| 6 | 0602-15-82-20К | Корпус | Нет на складе | |
| 7 | 37 5331-20 | Пробка | Нет на складе | |
| 7 | 37 5331 | Пробка | Нет на складе | |
| 8 | 018-022-25-2-51-1668 | Кольцо ГОСТ 9833-73/ТУ 38.005.204-84 | Нет на складе | |
| 9 | 0602-15-83К | Золотник | Нет на складе | |
| 10 | 012-016-25-2-51-1668 | Кольцо 012-016-25-2-51-1668 | Нет на складе | |
| 11 | 370140-08 | Пробка КГ 1/8" 20.069 | Нет на складе | |
| 12 | 0602-15-90К | Поршень | Нет на складе | |
| 13 | 38 5435 | Пружина | Нет на складе | |
| 14 | 0602-15-86К | Крышка | Нет на складе | |
| 15 | 0602-15-85К | Клапан | Нет на складе | |
| 16 | 022-026-2-51-1668 | Кольцо 022-026-2-51-1668 | Нет на складе | |
| 17 | КВМ 36М-ААГ-Г24-03-УХЛ1 | Привод КВМ 36М-ААГ-Г24-03-УХЛ1 | Нет на складе | |
| 18 | Винт М4x63 | Винт М4x63 | Нет на складе | |
| 19 | Шайба 4 | Шайба 4 | Нет на складе | |
| 20 | 38 5172-01 | Пружина | Нет на складе | |
| 21 | 039-045-36-2-51-1668 | Кольцо ГОСТ 18829-73/ТУ 38.005.204-84 | Нет на складе | |
| 22 | 0602-15-26К | Крышка | Нет на складе | |
| 23 | 45 0331 | Прокладка | Нет на складе | |
| 23 | 45 0331-20 | Прокладка | Нет на складе | |
| 24 | 28 0170 | Болт M8-6gx90 | Нет на складе | |
| 24 | 28 0170-20 | Болт M8-6gx90 | Нет на складе | |
| 25 | Гайка М8 | Гайка М8 | Нет на складе | |
| 26 | 31 0280 | Шайба 16х1.01.10,019 ГОСТ 10450-78 | Нет на складе | |
| 27 | 0602-15-89К | Дроссель | Нет на складе | |
| 28 | Проволока 0,6-О-Ч | Проволока 0,6-О-Ч | Нет на складе | |
| 29 | 0602-15-91К | Сетка | Нет на складе | |
| 30 | 0602-15-88К | Дроссель | Нет на складе | |
| 31 | 38 5120-20 | Пружина | Нет на складе | |
| 32 | 31 0080 | Шайба 5.01.10.019 ГОСТ 11371-78 | Нет на складе |