Будьте всегда в курсе!
Узнавайте о скидках и акциях первым
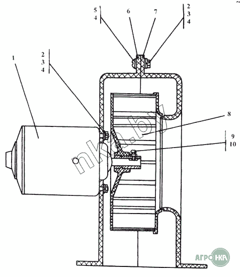
| Позиция на иллюстрации | Заводской номер детали | Название детали | Цена | |
|---|---|---|---|---|
| 2501-57-107-20СП | 2501-57-107-20СП | Вентилятор | Нет на складе | |
| 2501-57-107СП | 2501-57-107СП | Вентилятор | Нет на складе | |
| 1 | 2501-57-115-20СП | Электродвигатель | Нет на складе | |
| 1 | 2501-57-115СП | Электродвигатель | Нет на складе | |
| 2 | Гайка М5 | Гайка М5 | Нет на складе | |
| 3 | Шайба 5.65Г | Шайба 5.65Г | Нет на складе | |
| 4 | 310080 | Шайба 5.01.10.019 ГОСТ 11371-78 | Нет на складе | |
| 4 | 310080-20 | Шайба 5.01.10.0221 ГОСТ 11371-78 | Нет на складе | |
| 5 | Винт В.М5х16 | Винт В.М5х16 | Нет на складе | |
| 6 | 2501-57-16 | Корпус | Нет на складе | |
| 7 | 2501-57-15 | Корпус | Нет на складе | |
| 8 | 2501-57-106СП | Рабочее колесо | Нет на складе | |
| 9 | Винт В.М4х10 | Винт В.М4х10 | Нет на складе | |
| 10 | Гайка М4 | Гайка М4 | Нет на складе |