Будьте всегда в курсе!
Узнавайте о скидках и акциях первым
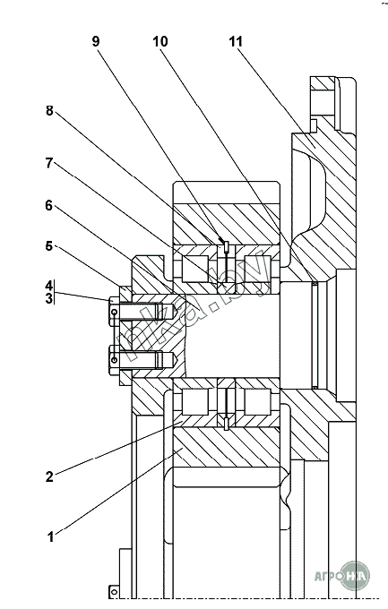
| Позиция на иллюстрации | Заводской номер детали | Название детали | Цена | |
|---|---|---|---|---|
| 1 | 2001-19-10 | Сателлит | Нет на складе | |
| 2 | 42311КМ | Подшипник 42311КМ | Нет на складе | |
| 3 | Проволока1,6-О-С | Проволока 1,6-О-С | Нет на складе | |
| 4 | 285330 | Болт | Нет на складе | |
| 5 | 2001-19-19 | Шайба | Нет на складе | |
| 6 | 2001-19-13 | Ось | Нет на складе | |
| 7 | 2001-19-18 | Втулка | Нет на складе | |
| 8 | 2001-19-20 | Кольцо | Нет на складе | |
| 9 | 700-58-2092 | Кольцо С120 ГОСТ 13941-86 | Нет на складе | |
| 10 | Кольцо066-071-30-2-51-1668 | Кольцо 066-071-30-2-51-1668 | Нет на складе | |
| 11 | 2001-19-5 | Водило | Нет на складе | |
| 11 | 2001-19-5-20 | Водило | Нет на складе |