Будьте всегда в курсе!
Узнавайте о скидках и акциях первым
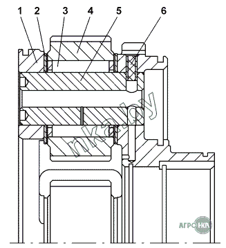
| Позиция на иллюстрации | Заводской номер детали | Название детали | Цена | |
|---|---|---|---|---|
| 1 | 4001-12-9 | Водило | Нет на складе | |
| 2 | 2501-12-160 | Кольцо упорное (476719267303) | Нет на складе | |
| 3 | К38x55x48Б | Подшипник К38x55x48Б | Нет на складе | |
| 4 | 4001-12-17 | Сателлит | Нет на складе | |
| 5 | 4001-12-31 | Ось | Нет на складе | |
| 6 | 2001-12-111СП(SP) | Штифт | Нет на складе |