Будьте всегда в курсе!
Узнавайте о скидках и акциях первым
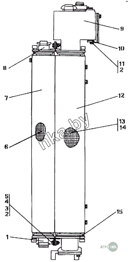
| Позиция на иллюстрации | Заводской номер детали | Название детали | Цена | |
|---|---|---|---|---|
| 5006-60-110СП | 5006-60-110СП | Блок радиаторов | Нет на складе | |
| 5006-60-110-20СП | 5006-60-110-20СП | Блок радиаторов | Нет на складе | |
| 1 | 2501-60-156СП | Коллектор | Нет на складе | |
| 1 | 2501-60-156-20СП | Коллектор | Нет на складе | |
| 2 | Шайба 12.ОТ.65Г.019 ГОСТ 6402-70 | Шайба 12.ОТ.65Г.019 ГОСТ 6402-70 | Нет на складе | |
| 2 | Шайба 12.ОТ.65Г.0221 ГОСТ 6402-70 | Шайба 12.ОТ.65Г.0221 ГОСТ 6402-70 | Нет на складе | |
| 3 | Гайка М12х1,25-6Н.6.019 ГОСТ 5915-70 | Гайка М12х1,25-6Н.6.019 ГОСТ 5915-70 | Нет на складе | |
| 3 | Гайка М12х1,25-6Н.6.029 ГОСТ 5915-70 | Гайка М12х1,25-6Н.6.029 ГОСТ 5915-70 | Нет на складе | |
| 4 | 280348 | Болт М12х1,25-6gх35.88.45.019 ГОСТ 7796-70 | Нет на складе | |
| 4 | 280348-20 | Болт М12х1,25-6gх35.88.45.029 ГОСТ 7796-70 | Нет на складе | |
| 5 | 310225 | Шайба | Нет на складе | |
| 5 | 310225-20 | Шайба | Нет на складе | |
| 6 | ЭТ500-60-1169-04 | Сердцевина | Нет на складе | |
| 7 | 3501-60-165-02-20СП | Радиатор | Нет на складе | |
| 7 | 3501-60-165-02СП | Радиатор | Нет на складе | |
| 8 | 2501-60-142СП | Коллектор | Нет на складе | |
| 8 | 2501-60-142-20СП | Коллектор | Нет на складе | |
| 9 | 5006-60-103СП | Коллектор | Нет на складе | |
| 9 | 5006-60-103-20СП | Коллектор | Нет на складе | |
| 10 | 5006-60-107СП | Заглушка | Нет на складе | |
| 10 | 5006-60-107-20СП | Заглушка | Нет на складе | |
| 11 | Болт М12х1,25-6gх30.88.35.019 ГОСТ 7796-70 | Болт М12х1,25-6gх30.88.35.019 ГОСТ 7796-70 | Нет на складе | |
| 11 | Болт М12х1,25-6gх30.88.35.029 ГОСТ 7796-70 | Болт М12х1,25-6gх30.88.35.029 ГОСТ 7796-70 | Нет на складе | |
| 12 | 5006-60-111СП | Радиатор ДВС | Нет на складе | |
| 12 | 5006-60-111-20СП | Радиатор ДВС | Нет на складе | |
| 13 | 500У-60-020-020 | Сердцевина или 35.02.1301.200-02 | Нет на складе | |
| 14 | 35.02.1301.200-02 | Сердцевина или 500У-60-020-020 | Нет на складе | |
| 15 | 5006-60-104СП | Коллектор | Нет на складе | |
| 15 | 5006-60-104-20СП | Коллектор | Нет на складе |