Будьте всегда в курсе!
Узнавайте о скидках и акциях первым
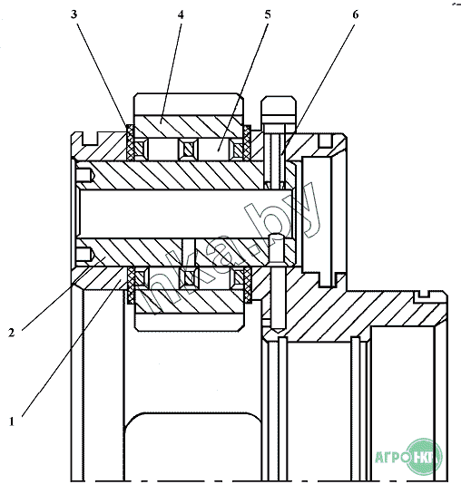
| Позиция на иллюстрации | Заводской номер детали | Название детали | Цена | |
|---|---|---|---|---|
| 1101-12-103СП | 1101-12-103СП | Водило | Нет на складе | |
| 1101-12-103-20СП | 1101-12-103-20СП | Водило | Нет на складе | |
| 1 | 1101-12-9 | Водило | Нет на складе | |
| 2 | 1101-12-28 | Ось | Нет на складе | |
| 3 | 312001-90-36 | Кольцо упорное | Нет на складе | |
| 4 | 1101-12-25 | Сателлит | Нет на складе | |
| 5 | 252806 | Подшипник 252806 | Нет на складе | |
| 6 | 1101-12-111СП | Штифт | Нет на складе |