Будьте всегда в курсе!
Узнавайте о скидках и акциях первым
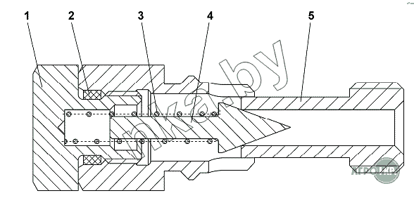
| Позиция на иллюстрации | Заводской номер детали | Название детали | Цена | |
|---|---|---|---|---|
| 1 | 313512-15-10 | Пробка | Нет на складе | |
| 1 | 313512-15-10-20 | Пробка | Нет на складе | |
| 2 | Кольцо012-016-25-2-51-1668 | Кольцо | Нет на складе | |
| 3 | 385048 | Пружина | Нет на складе | |
| 4 | 313512-15-8 | Клапан | Нет на складе | |
| 5 | 313512-15-7 | Корпус | Нет на складе | |
| 5 | 313512-15-7-20 | Корпус | Нет на складе |