Будьте всегда в курсе!
Узнавайте о скидках и акциях первым
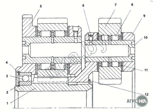
| Позиция на иллюстрации | Заводской номер детали | Название детали | Цена | |
|---|---|---|---|---|
| 312501-90-20СП(SP) | 312501-90-20СП(SP) | Редуктор | Нет на складе | |
| 1 | 312501-90-115 | Шестерня | Нет на складе | |
| 2 | 700-58-2122 | Кольцо С80 ГОСТ 13940-86 | Нет на складе | |
| 3 | 116А | Подшипник ГОСТ 8338-75 | Нет на складе | |
| 4 | 58 0818 | Кольцо С125 ГОСТ 13941-86 | Нет на складе | |
| 5 | 312501-90-12СП(SP) | Водило | Нет на складе | |
| 6 | 350620 | Винт М8-6gx16 | Нет на складе | |
| 7 | 312501-90-116 | Сателлит | Нет на складе | |
| 8 | 6-252908Д | Подшипник | Нет на складе | |
| 9 | 312501-90-111 | Водило | Нет на складе | |
| 10 | 312501-90-109 | Ось | Нет на складе | |
| 11 | 2501-12-160 | Кольцо упорное (476719267303) | Нет на складе | |
| 12 | 58 0705 | Кольцо С90 | Нет на складе |