Будьте всегда в курсе!
Узнавайте о скидках и акциях первым
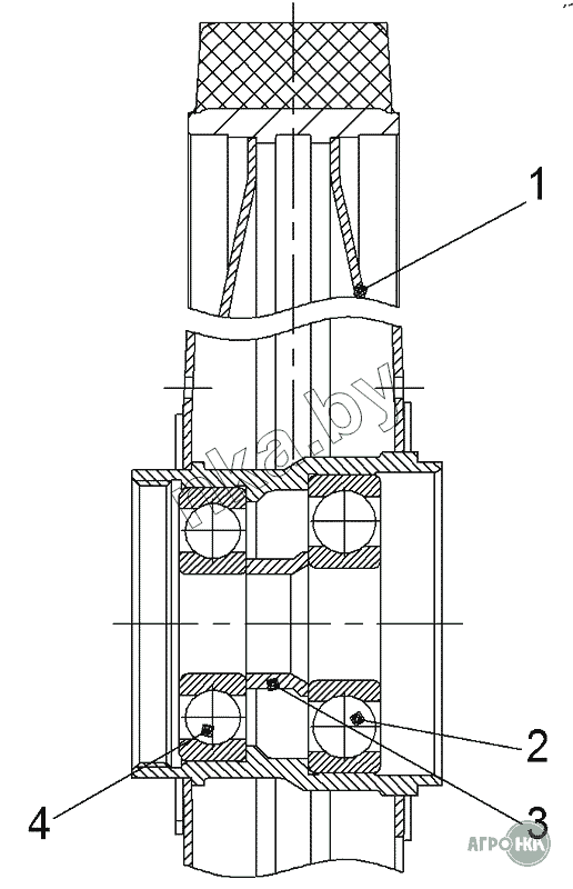
| Позиция на иллюстрации | Заводской номер детали | Название детали | Цена | |
|---|---|---|---|---|
| 3903-3204100 | 3903-3204100 | Каток опорный | Нет на складе | |
| 3903-3204500 | 3903-3204500 | Каток опорный | Нет на складе | |
| 1 | 3903-3204110 | Каток опорный с шиной | Нет на складе | |
| 1 | 3903-3204510 | Каток опорный с шиной | Нет на складе | |
| 2 | 408-71 | Подшипник | Нет на складе | |
| 3 | 3902-3203009 | Втулка распорная | Нет на складе | |
| 4 | 409-71 | Подшипник | Нет на складе |